[ report this test ]

Blueprint Reading Quizz

Knowledge of orthographic drawings and types of lines on blueprint reading



1)

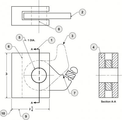
Name view D

 
 
 

2)

Name the view A in picture above

 
 
 

3)

Name view C

 
 
 

4)

Name the type of line F

 
 
 
 

5)

Name the type of line E

 
 
 
 

6)

name the type line G

 
 
 
 

7)

Objects line are dark and thick

 
 

8)

Name the type of line marked H

 
 
 
 

9)

Dimension lines and extension lines are thinner than section lines

 
 

10)

Title Block should be on the .....of the drawing sheet

 
 
 
 

11)

Orthographic Drawings are same as

 
 
 
 

12)

F is section line in the above picture

 
 

13)

C is a Section Line

 
 

14)

Section lines are the thickest lines in a drawing

 
 
 

15)

Construction lines are drawn before any final object is shown and are very light or thin on paper

 
 

16)

The above picture shows leader lines for dimensioning

 
 

17)

Identify cutting plane line in the picture above

 
 
 
 

18)

# 3 is a Phantom Line in the picture above

 
 

19)

Most section lines are drawn at an angle of 45 degrees

 
 

20)

# 7 shows a break line in the picture

 
 
 


[ report this test ]

[ edit test ]

Copyright ©2005-2026 Darrell C. Sydlo ---- Privacy Policy ---- Contact ----
NerdTests.com - Make Your Online Test or Quiz!